Apple патентова проектор за добавена реалност

Технологичният гигант Apple получи патент за проектор, който използва технология за добавена реалност, съобщава Patelntly Apple.
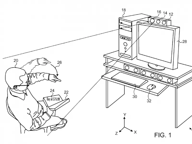
Концепцията за устройството включва два важни технологични компонента. То има камера, която сканира пространства като стаи или офиси. След това изгражда дигитален модел на тези пространства. Долавя и установява на кои повърхности може да прожектира изображения. Втората му важна особеност е, че проекторът ще променя това, което хората виждат.
Това не е първият патент за проектор за добавена реалност на Apple. По-рано, през октомври 2015 г. компанията получи патент за подобен проектор.
Новата молба за патентоване, подадена от Apple до американските власти, представя система, която излъчва дигитално съдържание като е-книги или филми в реалната среда, чрез прожектирането им върху повърхности. Смята се, че този вид поднасяне на информацията би направил зрителите по-склонни да купуват представените стоки, тъй като са пресъздадени пред тях по-реалистично.
Важно е да се отбележи разликата между добавената и виртуалната реалност, посочва Business Insider. Виртуалната реалност (VR) създава за хората изцяло нов свят за изследване. Добавената реалност (Аugmented reality или AR) използва вече съществуващата среда и я променя.
Наблюдатели отбелязват още, че само защото Apple е патентовала технологията, не означава, че тя ще я произведе проектора. Компанията подава молби за патенти или за да защитава свои идеи, или с маркетингова цел. В миналото тя патентова необичайни модели като дигитален екран, който може да се навива като вестник.
Ключови думи
ОЩЕ ОТ КАТЕГОРИЯТА
|
|
МРРБ към Терзиев: За трите забавени проекта са констатирани нередности в документите
Политика |Планината на седемте цвята: Перуанската звезда на Instagram
Любопитно |От днес терминалът в Александруполис работи на 75% от капацитета си
Енергетика |Компанията на Уорън Бъфет купува за 10 млрд. долара нефтения бизнес на Occidental Petroleum
Компании |Официално отвори врати AYA Estate Vineyards – първата в България и региона винарна и галерия за съвременно изкуство
Икономика | Advertorial |Бойко Борисов предлага да се закрие ДАИ
Политика |България започва нов сондаж за природен газ в Черно море
Политика |От 8 октомври ще санкционират търговците, които вдигат цените необосновано
България |Обратно изтичане на мозъци: 85 известни учени от САЩ са се преместили на работа в Китай от 2024 г.
Свят |Зеленски: Положението в Запорожката АЕЦ е критично
Свят |Нови директиви пред генералите: Военни сили за бързо реагиране ще потушават граждански безредици в САЩ
Свят |Едно от пет работни места в туризма ще останат незаети в Европа през следващото десетилетие
Свят |Федералното правителството на САЩ спря работа
Политика |ADVERTORIAL

Официално отвори врати AYA Estate Vineyards – първата в България и региона винарна и галерия за съвременно изкуство

Vivacom с три отличия от престижния конкурс Forbes HR & Employer Branding Awards 2025

Коментари
Няма въведени кометари.